DACS Digital Audio Control System

ACP53-001 and AMU-001

 

 

The Canyon AeroConnect Digital Audio Control System (DACS) is a flexible solution designed to meet the needs of mid- and large-size helicopters, as well as in a variety of fixed-wing aircraft for performing a wide range of missions.

As a software-configurable system, the DACS can be tailored to the exact audio specifications of each aircraft for audio distribution, control, and warnings to meet the aircraft's unique mission requirements. Additionally, removable legends permit operators to quickly and inexpensively adapt the radio to future updates over the lifetime of the aircraft.

This complete communication management system is designed to distribute and control all audio in the aircraft from all transceivers and aural alert sources. The integrated, multi-channel intercom system is customizable to provide users an audio system that can be configured to suit customer-specific requirements.

FEATURES

  • Fully-digital audio processing and control
  • Designed for tactical operations
  • Reduced system weight with reduced wiring
  • Cockpit & cabin control configurations available
  • Manage up to eight receivers and eight transceivers
  • Remote-mount management & memory units
  • Low cost of ownership
  • FAA: TSO-C139 (RTCA/DO-214 Class 1b, RTCA/DO-160E,RTCA/DO-178B Level C)

The DACS audio control system is available in many configurations, request a quote below or contact EDMO (sales@edmo.com, 800-235-3300) to best suit your application.


ACP53-001

 

ACP53 AUDIO CONTROL PANEL

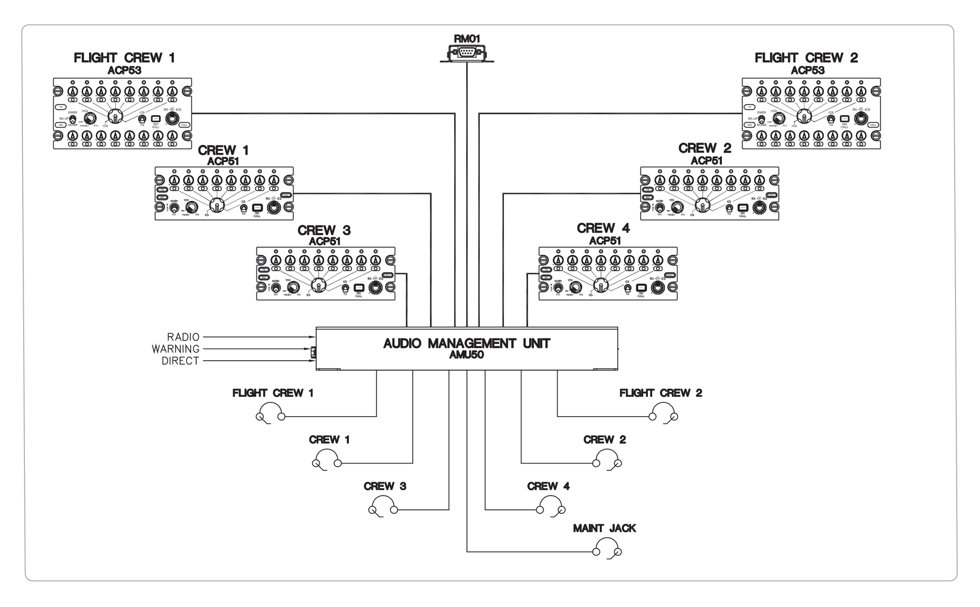
The ACP53 Aircraft Digital Audio Control Panel is a Dzus-mounted unit allowing the operator to adjust volume, select a transceiver, and select the patient mode. It is a ‘terminal’ that monitors the use's switch selections and level adjustments, and passing them along to the Audio Management Unit.

  • Digital interface from terminal AMU
  • Individual receive volume adjustment with on/off select
  • VOX setting
  • ICS and receive audio level adjustments
  • Norm/Back-up/Emergency system mode
  • Intercom isolation select
  • Manual TX PTT, ICS, PTT
  • Intercom isolation and transmit indicators
  • Cabin call indicator
  • LED backlighting improves dimming, NVIS option
AMU50-001

 

AMU50 AUDIO MANAGEMENT UNIT

The AMU50 is able to support eight receivers, eight transceivers, two CVRs, six direct inputs, six ACPs and seven headsets. It integrates a warning generator, providing eight tone/voice alarms with multiple levels of priority.

  • Centralized hub for all aircraft system interfaces, radios, and audio controls
  • Multiple power supplies
  • Multiple audio/interface amplifies
  • All audio inputs and outputs are electronic
  • Differential type for enhanced crosstalk rejection
  • Inputs and outputs reject HIRF and RFI
  • Smart connector pin layout ensures that the failure of one connector does not bring down the entire system
  • Eight-channel aural alert generator

ACP51

 

ACP51 AUDIO CONTROL PANEL

The ACP51 Aircraft Digital Audio Control Panel is a Dzus-mounted unit allowing the operator to adjust volume, select a transceiver, and select the patient mode. It is a ‘terminal’ that monitors the use's switch selections and level adjustments, and passing them along to the Audio Management Unit.

  • Digital interface terminal to AMU
  • Snap-in radio labels
  • Individual receive volume adjustment with on/off select
  • ICS, receive audio level adjustment
  • Manual TX PTT, ICS PTT
  • Intercom "Call" Select
  • Patient normal system/isolate mode selection
  • LED backlighting with improved dimming, NVIS optional
RM01-001

 

DACS REMOTE MEMORY MODULE

The RM01 is the remote memory unit for DACS. It is a small, remote mounted device that connects to the AMU50 via a digital bus. The RM01 stores the systems configuration and aural alert files remotely, allowing replacement of the AMU50 without having to reconfigure the replacement unit on the bench or in the aircraft.

  • Stores system configuration and aural alert files
  • Restores AMU50 programmable settings in the unlikely event that an AMU50 must be replaced
  • Reduces downtime by simplifying removals
  • Allows profile management via a simple box change and reducing downtime

 

Interested in the RT-7000?  Click below to visit the HUB page.

RT-7000 Hub

 


Typical Digital Audio Control System Setup

DACS_Diagram_72dpi

DACS Technical Specifications

 

Power:

27.VDC, 2.5A (nominal)

Microphone Inputs:

7 inputs, 3 impedances (selectable)
5Ω (250 uV rms)
75Ω (850 uV rms)
150Ω (250 uV rms)

Headphones:

7 inputs, 3 impedances (available)
8Ω (250mW)
150Ω (250 mW)
600Ω (250 mW)

Radio Audio Inputs:

16 inputs
1-20 Vrms input range
1,000Ω input impedance

Radio Mic Outputs:

8 outputs, 50 mV rms to 1 V rms output range,
60 Ω output impedance

Radio PTT Outputs:

8 outputs, active Lo

Direct Audio Inputs:

6 inputs
Fixed audio output levels
1-15 Vrms input range
600Ω input impedance

CVR Outputs:

2 CVR outputs (1 for pilot and 1 for co-pilot)
<600Ω output impedance
500mV rms output

Aural Warnings:

8 internal alerts
Messages are in .WAV files
Assigned by configuration management software
Can be active Hi or Lo

DF Blanking Output:

1 blanking output
active Lo

Music Inputs:

2 inputs, 2 input ranges - 400 mV rms or 2.5 V rms
1000Ω input impedance

ACP/AMU Protocol:

RS-422

Lighting:

5V/28V standard
5V optional
NVIS compliant versions optional

CanyonDACS-Drawing

Installation Kits

 

MFG P/N:
EDMO P/N:
DESCRIPTION:
MFG INSTALL KIT P/N:
204
NAT204
Interphone Amplifier
Install Kit: D25SL-IKC
205
Call for information
Amplifier
Install Kit: D25SL-IKC
207
Call for information
Passenger Speaker Amp
Install Kit: D25SL-IKC & D37SL-IKC
240
NAT240
Passenger Speaker Amp, 40 Watt
Install Kit: D25SMV-IKC and D37SMV-IKC
245
NAT245
Speaker Amp (Alternate for 356F-3)
Install kit: C16S-1-IKC
246
NAT246
Isolation Amp (Alternate for 356C-4)
Install kit: C16S-1-IKC
247
NAT247
Audio Mixing Amplifier
Install Kit: D44SV-IKC
250
NAT250
Paging Amplifier
Install Kit: D25SV-IKC & D37SV-IKC
251
NAT251
Passenger Speaker Amplifier, 60 Watt
Install Kits: D09SV-IKC and D25SV-IKC and D37SV-IKC
270
NAT270
Universal Interface Amplifier
Install Kit: D25SM-IKC
240-001
NAT247-001
Passenger Speaker Amp, 40 Watt
Install Kit: D25SMV-IKC and D37SMV-IKC
240-002
NAT240-002
Passenger Speaker Amp, 40 Watt
Install Kits: D25SMV-IKC, D37SMV-IKC
245-001
NAT245-001
Speaker Amp
Install kit: C16S-1-IKC
245-002
NAT245-002
Speaker Amp
Install kit: C16S-1-IKC
247-001
NAT247-001
Audio Mixing Amplifier
Install Kit: D44SV-IKC
251-001
NAT251-002
Passenger Speaker Amplifier, 60 Watt
Install Kits: D09SV-IKC and D25SV-IKC and D37SV-IKC
251-002
NAT251-002
Passenger Speaker Amplifier, 60 Watt
Install Kits: D09SV-IKC and D25SV-IKC and D37SV-IKC
251-003
NAT251-003
Passenger Speaker Amplifier, 60 Watt
Install Kits: D09SV-IKC and D25SV-IKC and D37SV-IKC
265-000
Call for information
Area Microphone Preamplifier, with integrated mic
Install Kit: D09SL-IKC
265-001
Call for information
Area Microphone Preamplifier, with external mic
Install Kit: D09SL-IKC
265-003
Call for information
Area Microphone Preamplifier, with integrated mic with a 0.755 Vrms Level
Install Kit: D09SL-IKC
265-004
Call for information
Area Microphone Preamplifier, no mic
Install Kit: D09SL-IKC
344-000
Call for information
Audio Control Selector Panel
Install Kits: D25SL-IKC + D37SL-IKC + D50SL-IKC
Replaces 343-xxx
344-002
344-002
Audio Control Panel, NVIS A
Install Kits: D25SL-IKC + D37SL-IKC + D50SL-IKC
Replaces 343-xxx
344-003
Call for information
Audio Control Panel
Install Kits: D25SL-IKC + D37SL-IKC + D50SL-IKC
Replaces 343-xxx
344-004
Call for information
Audio Control Panel. Derivative for Discovery Air, Face Plate Change
Install Kits: D25SL-IKC + D37SL-IKC + D50SL-IKC
Replaces 343-xxx
630A-000
630A-000
Customizable Aural Warning Generator
Install kit: D25SV-IKC
Replaces 630, 630-XXX (except -016)
AA12S-XXX
AA12S-XXX (Multiple Variations)
Compact Audio Controller (Stereo), 28V Ltg.
Install Kit: AA12S-IKC
AA35-XXX
AA35-XXX (Multiple Variations)
Sum/Iso. Amp., 6 Chan. Panel Mt., w/o faceplate
Install Kit: D37SV-IKC
AA82-001
Call for information
ICS, 4 Place
Install Kit: AA82-001-IKC
AA82-060
AA82-060
InterMUSIC - Stereo ICS (6 Place, Passenger)
Install Kit: AA82-060-IKC
AA83-001
AA83-001
InterMUSIC - Stereo ICS (4 Place)
Install Kit: AA83-IKC
AA83-002
Call for information
CD, hi z input
Install Kit: AA83-100-IKC
AA85-001
AA85-001
InterVOX II ICS (4/6 Place) - recommend CRIMP KIT
Install Kit: AA85-IKC is included with the LRU.
AA95-1000TSO
AA95-1000
Single Channel Audio Controller
Install Kit: D50S37SL-IKC
AA95-XXX
AA95-XXX (Multiple Variations)
Single Channel Audio Controller, Custom
Install Kit: D50S37SL-IKC
AMS43
AMS43
Single Channel Audio Controller
Install Kit: D50S37SL-IKC
AMS43H
AMS43H
Single Channel Audio Controller
Install Kit: D50S37SL-IKC
AMS43HP
AMS43HP
Single Channel Audio Controller
Install Kit: D50S37SL-IKC
AMS43N
AMS43N
Single Channel Audio Controller, NVG Friendly
Install Kit: D50S37SL-IKC
AMS43NB
Call for information
Single Channel Audio Controller, NVIS Grn B
Install Kit: D50S37SL-IKC
AMS43-TSO
AMS43TSO
Single Channel Audio Controller
Install Kit: D50S37SL-IKC
AMS44
AMS44
Dual Channel Audio Controller
Install Kit: AA90T-IKC
AMU50-001
AMU50-001
DACS Audio Management Unit
Install Kit: AMU50-IKC
AMU50-003
AMU50-003
DACS Audio Management Unit
Install Kit: AMU50-IKC
LD12-001
LD12-001
Lamp Dimmer/Test Unit (12 Lines)
Install Kit: D50SV-IKC
LD12-002
LD12-002
LED Dimmer/Test Unit (12 Lines)
Install Kit: D50SV-IKC
N301A-XXX
N301A-XXX (Multiple Variations)
Audio Controller, Single User
Install Kit: D50S15SL-IKC
PIA01-001
PIA01-001
DACS Passenger Intercom Amplifier
Install Kit: PIA01-IKC
PTA12-100
PTA12-100
POTS Telephone Adapter with Display (Black)
Install Kit: D25SV-IKC
PTA12-104
PTA12-104
PTA12-100 with Grey faceplate
Install Kit: D25SV-IKC
PTA12-300
PTA12-300
PTA12-100 with NVIS B lighting
Install Kit: D25SV-IKC
RM01-001
RM01-001
DACS Remote Memory Module
Install Kit: RM01-IKC
RS12-020
RS12-020
Remote Switch, 12 Pole
Install Kit: D50SL-IKC
RS12-030
Call for information
Remote switch,12 poles, voltage keyed
Install Kit: D50SL-IKC
RS12-350
RS12-350
Remote Switch, 12 Pole, tested to 35K feet altitude
Install Kit: D50SL-IKC
RS12-500
RS12-500
Remote Switch, 12 Pole, qualified to 50K feet altitude
Install Kit: D50SL-IKC
RS16-001
RS16-001
Remote Switch, 16 Pole, 28 Volt
Install Kit: D62SL-IKC
RS16-012
RS16-012
Remote Switch, 16 Pole, 12 Volt
Install Kit: D62SL-IKC
RS24-020
RS24-020
Remote Switch, 24 Pole
Install kit: D50SL-IKC QTY 2
RS24-350
RS24-350
Remote Switch, 24 Pole, tested to 35K feet altitude
Install kit: D50SL-IKC QTY 2
RS24-500
Call for information
Remote Switch, 24 Pole, tested to 50K feet altitude
Install kit: D50SL-IKC QTY 2
VR28-013
VR28-013
Volt/Reg - Power Conv., (28 VDC-13 VDC, 5A)
Install Kit D15SL-IKC
Scroll to Top